Qingdao Xin Aneng Menyampaikan Machinery Co., Ltd.
Qingdao Xin Aneng Menyampaikan Machinery Co., Ltd.
Berita

Penentuan protokol yang lebih bersih

2025-03-19 0 Tinggalkan aku pesan

1.1 Penentuan program pembersih

Sapu pita perekat debu batu bara yang telah dipatuhi. Seperti yang kita ketahui, batubara mentah yang diangkut dari wajah pertambangan mengandung berbagai tingkat kelembaban, dan mudah untuk mengikat batubara bubuk halus ke permukaan pita. Jika batubara bubuk yang terikat pada pita tidak dibersihkan, batubara bubuk akan dibawa ke tempat penyimpanan sabuk dan roller di bawah seluruh sabuk bawah di bagian kosong (mis., Sabuk bawah), dan itu terutama akan diendapkan di tempat penyimpanan sabuk.

Hasil utamanya adalah:

Sejumlah besar batubara lebah menumpuk di tempat penyimpanan sabuk, yang mengubur rol pendukung, menyebabkan roller gagal beroperasi dan mempengaruhi masa pakai sabuk;

2) Penyimpangan operasi sabuk akan menyebabkan kecelakaan menggantung atau merobek;

3) meningkatkan resistensi pita dan meningkatkan biaya;

4) jumlah batubara yang dibersihkan meningkat, yang meningkatkan intensitas tenaga kerja pekerja;

Dalam penggunaan pembersih batubara, ada tiga masalah yang harus diselesaikan:

1) Efek pembersihan harus baik;

2) Pembersih mudah diganti, dan beban kerja pemeliharaan harus kecil;

3) Harus ada jalan keluar untuk batubara bubuk yang dibersihkan.

1. Analisis situasi saat ini

1) Struktur dan posisi pembersih batubara tradisional


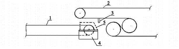
Seperti yang dapat dilihat dari Gambar 2-1, pembersih batu bara umumnya dipasang di bagian belakang drum. Pembersih batubara adalah untuk memperbaiki selembar selotip di tengah dua belat untuk membentuk bingkai pembersih batubara, menggunakan pin dan struktur tuas untuk membuat pita pembersih batu bara menempel pada pita berongga untuk dibersihkan, gunakan ketegangan pegas untuk membuat batubara lebih bersih dan sabuk berongga menghasilkan tekanan tertentu, dan dapat membuat pita pembersih batubara aus setelah kompensasi tekanan.

2) Cacat Pembersih Batubara Tradisional

A. Pembersih batubara terdiri dari pita pembersih, dan karena sabuk bawah adalah sabuk berongga, sabuk mengapung di bawah tekanan pembersih batu bara, tekanan pembersih batu bara tidak cukup, dan efek pembersihannya buruk.

6. Pembersih batubara berada di sisi belakang drum pembongkaran, dan umumnya lebih dari 1m jauhnya dari drum pembongkaran sesuai dengan kondisi pemasangan, dan batubara di bawah pembersihan perlu memproses hopper batubara kecil untuk menggeser batubara ke sabuk berikutnya, tetapi kadang -kadang karena ketinggian ruang bawah tanah tidak cukup, batubara yang disapu tidak dapat diliputi.

C. Beban kerja penggantian pembersih batubara besar, yang membuat batubara lebih mudah rusak, dan siklus penggantian juga sangat singkat.

3) sambungan pangkuan transportasi sabuk khas

Pangkuan transportasi sabuk khas ditunjukkan pada Gambar 2-2.

Seperti dapat dilihat dari Gambar 2-2, batubara di bawah pembersih batu bara tidak dapat tergelincir langsung di sabuk, dan menurut ketentuan "peraturan keselamatan tambang batu bara", 35 bagian yang berjalan dari semua peralatan harus dilengkapi dengan perangkat pelindung (mis., Perisai), jadi setelah sabuk dilengkapi dengan perisai, masalah batubara yang tergelincir oleh dua sabuk yang meningkat.

Berita Terkait
Tinggalkan aku pesan
X
Kami menggunakan cookie untuk menawarkan Anda pengalaman penelusuran yang lebih baik, menganalisis lalu lintas situs, dan mempersonalisasi konten. Dengan menggunakan situs ini, Anda menyetujui penggunaan cookie kami. Kebijakan Privasi
Menolak Menerima